A future version of the Apple Watch could monitor how much ultraviolet radiation the user is being exposed to, and alert the wearer if they’ve been in the Sun for too long.
According to the World Health Organization, “Ultraviolet (UV) radiation is a known cause of skin cancer, skin ageing, eye damage, and may affect the immune system.”
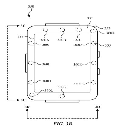
Apple received a patent this morning from the USPTO for a system that offers “UV dosimetry and exposure alert.” The images that accompanied this filing make it clear that the system is intended to be installed in an Apple Watch.

Photo: Apple
The written patent description says, in part, “The device utilizes a UV light sensor to detect the user’s presence while outdoors and measure the cumulative outdoor exposure time. The cumulative UV exposure is optionally provided via a messaging service or alert, and a UV index value is optionally utilized with the cumulative outdoor exposure to determine the risk of skin damage and to provide user guidance relating to recommended protective measures.”
Apple keeps adding more health-monitoring features to its wearable. The first-generation Apple Watch could monitor the wearer’s heart rate. The most recent version has a electrocardiogram (ECG) sensor, though it doesn’t work yet. An ultraviolet sensor seems a logical addition.
The dangers of UV
UV radiation can neither be seen nor felt, but still damage the DNA in skin cells. This can lead to skin cancer.
The Sun is the main source of UV radiation. It’s only a very small percentage of the Sun’s rays, but it’s the main cause of the Sun’s damaging effects on the skin.
There are two types to be aware of. UVA ages skin cells and leads to wrinkles. UVB rays have more energy and are primarily responsible for skin cancer.