Mobile menu toggle

iphone concepts

Read Cult of Mac’s latest posts on iphone concepts:

Folding iPhone is here! Too bad there’s only one.

By

Folding iPhone is here! Too bad there's only one.
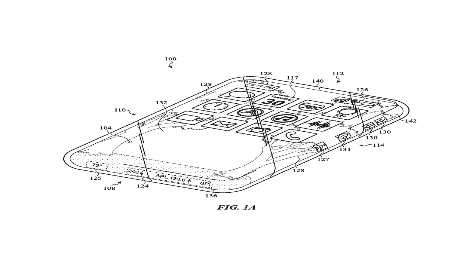
This proof-of-concept device is the world's first folding iPhone.
Photo: KJMX

Those dreaming of a folding iPhone can look enviously at group of clever hackers in China who made one just to prove it could be done.

What they made isn’t simply a concept video. Their device is fully functional, and even uses a screen originally from an iPhone.

iOS 16 concept will have you wishing it was September already

By

iOS 16 concept will have you wishing it was September already
An always-on display is a highlight of a new iOS 16 concept,.
Concept: Nicholas Ghigo

When Tim Cook and other Apple executive first show off iOS 16 in early June, there’s a good chance it’ll have much in common with a recently released artists’ concept. The new video shows some of the most-anticipated features, including an always-on screen and interactive widgets.

Watch the iOS 16 concept video now for a sneak peek at what might be coming soon to iPhone.

iPhone 14 Pro concept shows possibilities of pill-shaped camera hole

By

iPhone 14 Pro concept shows possibilities of pill-shaped camera hole
If a recent rumor is on the mark, the device on the right is exactly what the iPhone 14 Pro will look like.
Concept:

Rumor has it the iPhone 14 Pro will dump the screen notch for a pill-shaped camera hole. A concept artist turned the unconfirmed report into a possible design for Apple’s 2022 flagship phone.

He even put the additional screen space to good use.

iOS 16 concept showcases long-overdue features you’ll love

By

iOS 16 concept includes long overdue features
An iOS 16 concept recommends two different versions of side-by-side multitasking.
Concept: the Hacker 34

Apple is doubtless hard at work on iOS 16, and concept artist Kevin Kal has suggestions that many iPhone users will agree with.

He created a video to demonstrate the proposed changes, including Split View, interactive widgets and more.

iPhone 13 Pro concept is exactly what we’ve been hoping for

By

Next-generation iPhone 13 Pro concept is exactly what we’ve been hoping for
Few people will be disappointed if the iPhone 13 Pro and Pro Max look like this.
Photo: Ran Avni/ConceptsiPhone

A concept artist combined many of the iPhone 13 Pro leaks into a video that might portray Apple’s next handset. The device has a smaller notch, 120 Hz screen, Touch ID and other changes — just like the one Apple is expected to unveil in September.

Watch the beautiful concept video now:

You’ve got to see this iPhone notch ‘fix’ to believe it

By

This iPhone M1 concept is by Antonio De Rosa from ADRStudio.
A new concept design thinks outside of the box on removing the iPhone notch.
Screenshot: ADRStudio/ConceptsiPhone

The screen notch isn’t anyone’s favorite iPhone feature, and an iPhone concept makes a radical suggestion for repositioning it: the artist suggests stretching the top of the handset to make room for the front-facing camera and other sensors.

Watch a pretend Apple advertisement from the concept artist demonstrating the innovative new device now:

Eye-catching iPhone Pro concept adds smart connector, drops Lightning port

By

Eye-catching iPhone Pro concept adds smart connector, drops Lightning port
This suggested iPhone Pro doesn’t use the Lightning connector. Nor does it have a model number.
Photo: Antonio De Rosa

A concept artist proposes an iPhone Pro without a Lightning port. Instead, he envisions a new dock port on the back of the handset where clip-on accessories could attach.

A beautifully made video shows off the concept iPhone as though it were real. Watch it now.

You’ll flip for this iPhone 12 Flip concept

By

An iPhone concept shows a realistic folding iPhone design
If Apple makes a foldable iPhone, it might look like this concept design.
Screenshot: ConceptsiPhone

When Apple gets into the foldable phone market, as arch-rival Samsung has already done, its first model might well look much like the iPhone 12 Flip. But for now, this is only a concept design.

Watch a video of it now:

iPhone 12 concept video stars the phone you’ve been waiting for

By

An iPhone 12 concept video shows off lots of color options.
A realistic iPhone 12 concept shows this upcoming device in all their glory.
Photo: Terquosive Labs

A concept artist created a video that breathes life into many of the iPhone 12 rumors that are circulating. It could give a real look at what Apple will unveil in autumn, including at least one significant design change.

Watch the video now:

iPhone Slide Pro concept makes moves Apple never will

By

iPhone Slide Pro concept is not a folding iPhone.
A hidden second screen is the signature feature of the iPhone Slide Pro concept.
Photo: iOS Beta News/ ConceptsiPhone

A concept artist proposes Apple make a sliding iPhone, not a folding one. The iPhone Slide Pro boasts a second touchscreen that hides behind the primary one.

Watch a video of the concept device in action:

Crazy iPhone concept includes super-size detachable camera

By

Mosaic iPhone concept features a removable camera.
The Mosaic concept explores designing a smartphone around a removable, stand-alone camera.
Photo: Louis Berger

A concept artist apparently noticed that the iPhone camera hump keeps getting larger and larger, and designed a device that runs with that idea.

Louis Berger’s Mosaic is a removable triple-lens camera hump that can function independently.

New concept video gives realistic look at upcoming budget iPhone

By

Watch a realistic iPhone 9 concept video.
Here’s what the iPhone 9 — or iPhone SE 2 if you prefer — will probably look like.
Photo: the Hacker 34

Not every iPhone concept video is a crazy mashup of dream features. A new one gives a realistic preview of the low-cost iPhone Apple is expected to release this spring.

Watch a video of this concept device now:

Folding iPhone concept might change your opinion on flexible phones

By

Foldable iPhone concept by Iskander Utebayev
This amazing foldable iPhone concept is everything that first-gen flexible handsets aren‘t.
Screenshots: Iskander Utebayev

A concept design for a folding iPhone has none of the drawbacks of the handsets with flexible screens released so far. It shows what an iOS device using this tech might look like some time in the future.

Take a look at a short video of the folding iPhone concept in action:

Apple spitballs iPhone with wraparound display

By

Every bit of this concept iPhone is covered in wraparound display.
Apple’s own designers dreamed up this iPhone with a completely wraparound display.
Photo: Apple

Apple designed an iPhone that’s all touchscreen. Front, back, top, bottom and sides — every bit of the exposed surface is a wraparound display.

And the description shows engineers put quite a bit of thought into the proposal.

iPhone concept with detachable display will blow your mind

By

iPhone concept with a removable secondary display
No content with one display, an iPhone concept suggests a pair — one removable.
Screenshot: Caviar

Rejecting the idea of flexible screens, an artist at Caviar dreamed up an iPhone concept with a detachable secondary display instead. This allows for real multitasking, or the handset to be snapped into a tablet or netbook.

Not stoping there, the artist created a concept video with multiple other innovative iPhone designs that might debut in next decade.

Watch it now:

iPhone XI renderings reveal all-new rear panel design and mute switch changes

By

leaked iPhone XI
The back of the iPhone XI.
Photo: OnLeaks/CashKaro

Apple won’t unveil the 2019 iPhone lineup for at least another four months, but we already have a pretty solid idea on what it will look like.

New renderings based on leaked information reveal the iPhone XI and XI Max in all their glory. From the front, the new iPhones look pretty similar to the XS and XS Max. When you flip them over though you’ll notice a new triple-lens camera array and new unique rear panel made out of one piece of glass.

Take a closer look:

iPhone 8 renders show Apple’s next handset in more detail than ever

By

iphone
Is this the new iPhone?
Photo: @OnLeaks @GearIndia

Thanks to some factory CAD images and high-quality renders, we’ve gotten our clearest look yet at Apple’s next-gen iPhone — if leakers @OnLeaks and tech blog @GearIndia are to be believed, that is!

The images depict a powered-off iPhone 8, sized somewhere between the iPhone 7 and iPhone 7 Plus, although slightly thicker than both. As previously rumored, they show the expected vertical camera setup and edge-to-edge OLED infinite display with no Home button.

Want a closer look? Check out more pictures and a video mockup below.

Renderings imagine how the iPhone 7 and 7 Pro may look

By

264277
Are you ready for the iPhone 7 Pro?
Photo: Martin Hajek

We’ve still got a little over three months before Apple unveils its next-gen iPhone handsets, but — as always — designers are more than willing to help us imagine how different our lives will be come September.

From flip-phone versions of the iPhone to a retro “dumb” version without any of the added goodies, designer Martin Hajek has long been creating iPhone renderings. For these, however, he sticks to what we’ve heard from the rumor mill to bring us concepts for both the iPhone 7 and the possible iPhone 7 Pro.

Check them out below.

The future of UI for iOS 10 … or iOS 20?

By

This video has lots of great ideas about how iOS 10's UI should work.
This video has lots of great ideas about how iOS 10's UI should work.
Photo: Cult of Mac

A lot of “next-gen iPhone” concepts are pretty crappy. Whimsical fancies that have nothing to do with the reality of industrial design. And hey, that’s true of this iPhone 7 concept, which imagines an edge-to-edge display that totally ditches a physical home button. You will not see an iPhone like this anytime in the near future.

But that’s not to say the concept isn’t cool. Because eventually, Apple will release a full-screen iPhone. And when it does, this concept has a lot of cool ideas about how future iOS UIs will work, once the hardware catches up.

iPhone goes dumb in this neat Apple concept

By

iDot would be the first distraction free iPhone.
iDot would be the first distraction free iPhone.
Photo: Martin Hajek/Curved

Apple fans obsess over which new features will get added to the iPhone every year, but if the latest concept from designer Martin Hajek ever becomes a reality, the new iPhone will be more notable for the hardware it’s missing.

The iDot concept packs no camera, no internet connection, zero apps and minimal distractions, so you can focus on what’s really important instead of having your soul slowly sucked away by your iPhone screen.

Wafer-thin iPhone 7 concept combines elegance with ugliness

By

iPhone 7 concept by Mesut G Designs
Can you even see this unofficial iPhone 7?
Photo: Mesut G Design

We aren’t going to find out what the next iPhone looks like until Apple shows us (probably in September), but that isn’t stopping designers from dreaming up some concepts.

Here’s a pretty bold one that imagines the next Apple smartphone as a mix between a Samsung Galaxy Edge and a Club Cracker. You can check it out in the video below.