Apple has a range of different Apple Watch straps available — but, aside from letting you pick the perfect strap to suit the rest of your attire, they all serve exactly the same function: keeping Apple’s debut wearable safely strapped to your wrist.
That may change in future iterations of the Apple Watch, with a new patent application published today describing how future Watch straps (or straps for other Apple devices) may include flexible displays woven into the material, offering another way of presenting user messages or notifications.

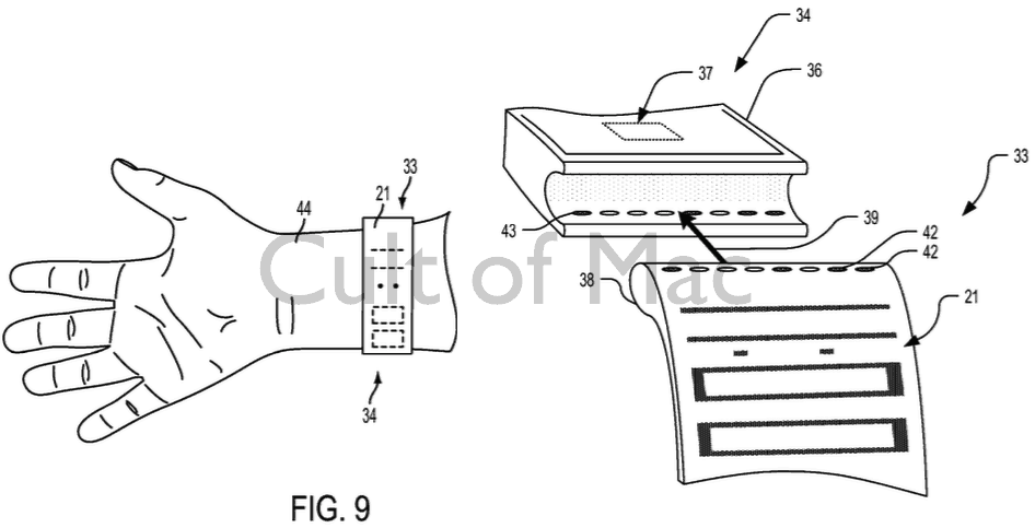
Photo: USPTO/Apple
Apple’s invention refers to “woven fabric displays,” capable of including fibres with various optical properties. These light pipe fibres would enable Apple to make use of the real estate of the Watch strap without having to make it extra rigid or limit the materials too much, since the application explains how light fibres could be intertwined with polymer, metal, glass fibers, and a variety of other woven materials.
Sure, you won’t be watching video on the strap of your Apple Watch any time soon, but as a basic way of presenting numbers, letters, or other simple notifications, I can definitely see this being a neat addition to the Apple Watch.
Of course, being a patent application means that there’s no guarantee today’s invention will ever make it into an actual Apple product, but I’d certainly like to see it do so — as long as it wouldn’t result in Apple Watch straps losing their current premium fashionable appearance. What do you think? Leave your comments below.
Source: USPTO
Via: Patently Apple
One response to “Futuristic straps could do way more than keep your Apple Watch on”
I think Apple will use straps to further improve the old models and increase capability to the new models. They will use it to make available better health monitoring and things they need FDA approval. The straps can mesure pressure, diabetes, heart conditions, give extra battery live to the watch, give more processor capabilities, GPS, 4G, better Wi-Fi connections, mesure climate conditions, and leave more space on the watch to accommodate better the the battery, the main chip and the sensors that don’t need FDA approval. You can have a sport strap that have GPS, pressure monitor and better tracking for steps and extra sensor to other kind of exercises activities. A formal strap that give you 4G connectivity, better Wi-Fi connections, more battery live to have use… A senior strap that give better healthcare track, alert the physician, use 3th parties monitory in the body of the person, and, and, and…. The possibility are limitless. That is what I think and hope about the future of straps and apple watch.