For many users, the quality and accessibility of the iPhone camera means that it is the only camera we need on a regular basis. It may be about to get a whole lot better, too, according to a patent application published by Apple on Thursday — describing a new “super-resolution” mode.
What makes the patent interesting (apart from that it promises higher quality images) is that it suggests that picture resolution could be ramped up without needing more megapixels.
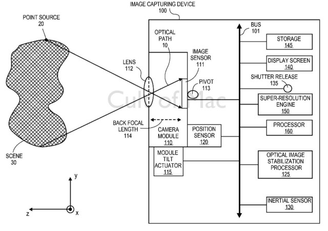
How would this work? By using an an optical image stabilization (OIS) system which takes multiple photo samples in very rapid succession, with each one from a slightly offset angle. These images are then fed into an image processing engine which creates a patchwork image in super-resolution.
According to one embodiment described in the patent application, the system features a camera, an actuator for OIS positioning, a positioning sensor, inertial sensor, OIS processor and a super-resolution engine. A central processor — like the A7 system-on-chip found in the iPhone 5s — controls the mechanism and is used to ferry data between different components.
As the top image shows, how this might be practically implemented within an iOS device could be the option of a super-resolution mode within the basic camera app. When the camera shutter is activated, the iPhone would then take a flurry of multiple images like the iOS 7 burst mode supported by the iPhone 5s.
Of course, as with all patent applications filed by Apple, there is no guarantee that the super-resolution mode will ever make it into an actual product.
The application was filed by Apple in November 2012, and names Apple’s Camera Systems Engineering Manager Richard L. Baer and Camera Software Engineer Damien J. Thivent as its inventors.
Source: U.S. Patent & Trademarks Office


5 responses to “Future iPhones could take ‘super-resolution’ pics without needing extra megapixels”
There are two apps that do this already: ClearCam and CortexCam. Apple is probably going to implement a similar method for hi-res pics as the developers of these apps did.
Maybe, but this solution they patented seems to take advantage of OIS (Thats hardware based, not software) and not something that just software can do.
youre mixing up superresoultion with multi frame noise reduction.
altough both use multiple frames their goal is different.
superresolution is actually capable of capturing more detail than possible in a single image. Technology like this is used by hasselblad and is called “multi-shot”
multi frame noise reduction is only useful for high ISO images, averaging the noise patterns and thus smoothing the picture without losing detail, but this is virtually useless when used with low ISO, since there is nothing to smoothe out.
I wonder if we will ever get control of our own cameras to set the f stop or ISO or exposure settings ourselves?
There are apps that do this.