Among the 31 published patents newly granted to Apple this week was a camera-related patent designed to provide iOS devices with swappable, add-on camera lenses to provide optical functions including autofocus, lens zoom, and anti-shake.
The patent acknowledges that — while miniaturization has led to better and better cameras for iOS devices — there is a limit to the types of optics which can be provided in the space available for a multi-function device or ultra-compact camera.
The answer? Swappable lenses.
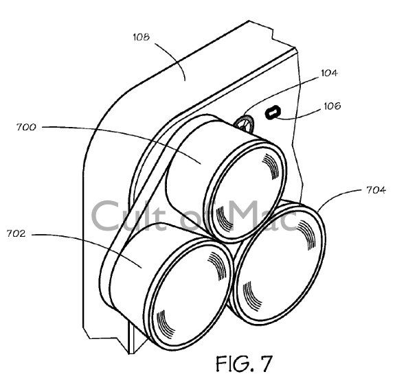
Apple’s add-on magnetic lenses would mean future iOS devices may include a a magnetic ring mounting point. The magnetic ring would then allow users to attach different camera accessories with three swappable lenses on a pinwheel.
The patent names Lead Camera Design Engineer for iPhone/iPod Jeffrey Gleason and Optical Engineer Misha Scepanovic as the two inventors. It was filed in Q4 2012.
It should be noted that a previous patent filed in 2010, authored by Apple Senior Camera Engineer Richard Tsai, suggested that future iPhone models could come with customizable lenses and detachable backs. Companies like Olloclip, meanwhile, have created various accessories for attaching different camera lenses to iOS devices.
Still, given Apple’s resources, the fact that it is clearly still interested in innovating in this area is good news for anyone (including this writer) who uses their iPhone as their premier camera in daily life.
Source: U.S Patent & Trademark Office

One response to “Future iPhones Could Come With Swappable Camera Lenses [Patent]”
Bravo Apple complete amazing. There are working they creative geniuses:
http://us.123rf.com/400wm/400/400/atirado/atirado0803/atirado080300001/2761569-stare-8mm-cine-filmu-z-kamery-turrent-i-korby.jpg