Apple is investigating touch-sensitive holographic displays for future Macs and iOS devices, according to a new patent published today.
As described, the patent would emulate the current touch-based interface for iPhones and tablets, only using near-field proximity in place of physical touch.

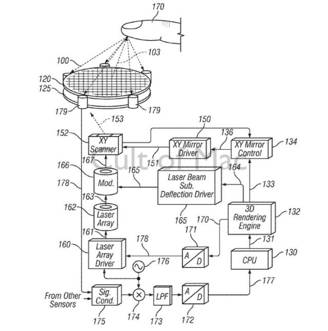
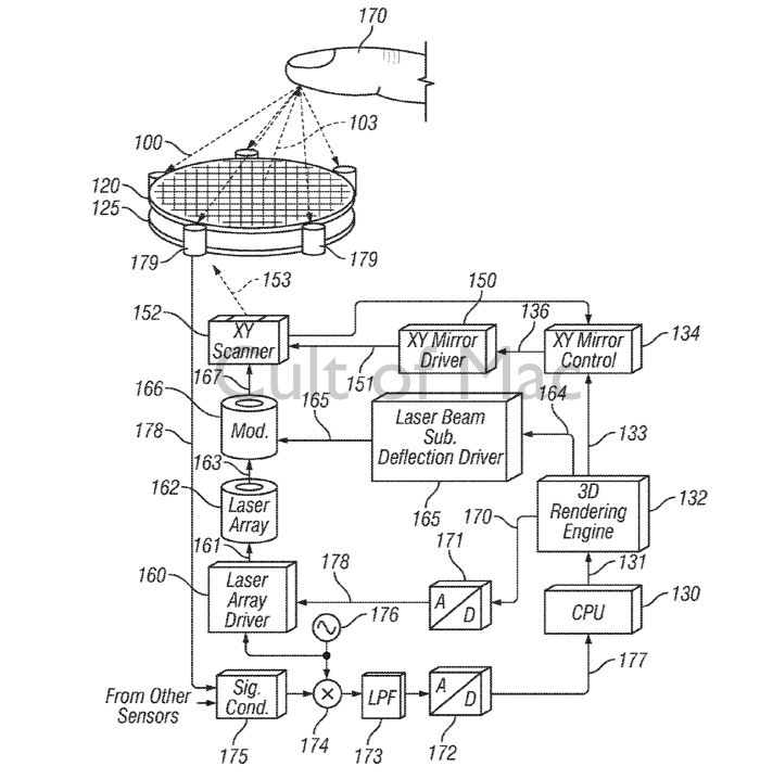
The 3-D holographic images would be produced using beams of light, using a lens assembly made up of multiple micro lenses each of which can deflect laser light at different angles to produce a three-dimensional optical illusion.
The touch sensitivity would come by pin-pointing which of these micro lenses was being interrupted by a finger or stylus, and using this data to obtain information about the part of the image which is being “touched.”
Apple’s interactive holographic display device was first filed in early 2011, and is credited to Christopher Horst Krah as its sole inventor.
While there’s a chance this patent will never surface in any shipped Apple product, if properly implemented it would certainly be light years (no pun intended) ahead of Amazon’s Fire Phone 3-D technology.

Via: Patently Apple
2 responses to “Beyond touchscreens: Apple eyes touch-sensitive holographic displays”
Ohhh that’s a trick…
*YAWN*
Pin-in-the-sky clickbait.
Shame on you, Cult Of Mac, SHAME!!