Apple may have already used the name “Force Touch” for its touch-sensitive tech, but if you’re a sci-fi fan who’s ever dreamed of wielding The Force to control your Mac with an Obi Wan-like sweep of the hand, you could be in luck.
Apple today published a patent for a technology which describes in-air 3D gesturing which allows it to accurately establish not only where a user’s hand might be, but also what it is doing. As such, it opens up the possibility of creating detailed hand poses for triggering different actions.
Throwing up a pair of hand horns to get AC/DC blaring out on iTunes? Yes please.
The patent describes a method of processing data based on creating a depth map of a scene containing a human hand. The technology could then extract the necessary information and compare poses to a database of stored information associated with the matched descriptors.
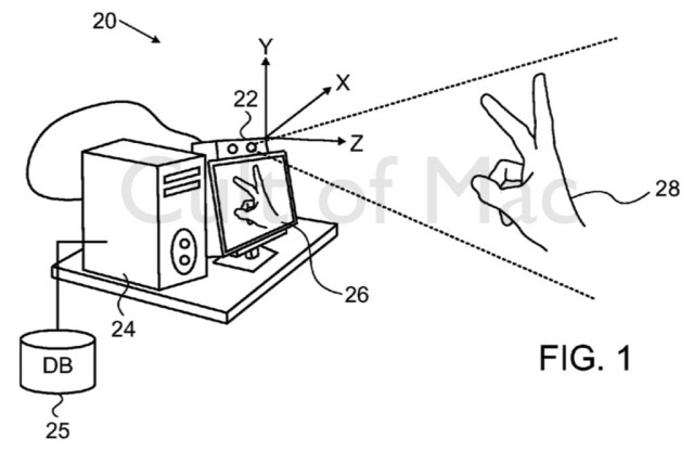
You can get an idea of how the tech might work, when pared with a 3D camera, from the below pic:

The technology was developed by engineers from the Israeli company Primesense, which created Microsoft’s Kinect sensor.
Apple acquired it for around $360 million dollars in late 2013, although it has yet to reveal exactly what it plans to do with the tech, saying only that, “Apple buys smaller technology companies from time to time, and we generally do not discuss our purpose or plans.”
Interestingly, at least two of three algorithm inventors and computer vision experts named on the patent — Leonid Brailovsky and Shai Litvak — are now working at Samsung’s R&D facility in Israel.
While it’s all speculation, a technology like this would certainly have possible application in Apple’s next-gen television, which is one of the use-cases described in the patent, along with games console and media player.
Source: USPTO
2 responses to “Apple’s new gesture tech could bring Star Wars-style Force controls to Mac”
You’ll need to buy midichlorians for your Mac, and they are very expensive.
there was someone who wrote a kext too drive the xbox kinect to recognize hand gestures but there are a lot of limitations as the resolution is not there yet for mission impossible like smoothness but this is not something new. do a quick search on google and you will see whats out there.