Apple hasn’t built a device requiring a stylus since the heyday of the Newton in the 1990s, largely because Steve Jobs hated them. But a new patent published today suggests that Apple could be changing its mind — or is making a conscious effort to lead rivals and copycats astray.
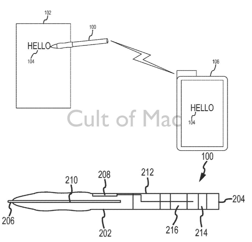
Described as a “communicating stylus,” the patent describes a stylus featuring built-in accelerometers, wireless transmission, and storage — with the aim of sending hand-written notes and drawings from one device to another.
Of course, just because Apple publishes a patent doesn’t meant that this is a concept that will one day arrive on shelves as a physical product. With that being said, however, there are a few clues in this patent, which suggest why now may be the perfect time to strike for a smart Apple stylus.

With falling iPad sales, Apple has recently been pushing to get iPads embraced by both the business and education worlds. Earlier this year, Apple announced a partnership with IBM, designed to “transform enterprise mobility through a new class of business apps.” There was also a $1.3 billion attempt to provide iPads to every student, teacher and campus administrator in the Los Angeles school district — although the scheme wound up collapsing amidst controversy.
Today’s patent paperwork notes that:
“The stylus can enter … data from a distance, such as from across the room, to the computing device. This allows a user in one embodiment to keep the computing device stored, for example with a cellular phone, in his pocket and still be able to use the stylus to enter text or drawings into the device. This makes it easy, for example, in a classroom setting for a user to take handwritten notes and simultaneously create a digital version of those notes. Additionally, in another embodiment, the stylus allows for the user to write on a whiteboard mounted on a wall and simultaneously display what he has written on a computing device.”
Particularly with rumors of a 12.2-inch iPad Pro to be announced this year, iPad functionality will expand beyond where it is now: opening up new possibilities for the iPad as a serious productivity tool.
This isn’t the first time a stylus would be available for the iPad, of course. There are plenty of third-party styli available, ranging from the good to the just-plain-wacky, while previous Apple patents show the company has at least considered this an area worth investigating before.
Although I’m in no rush to replace my existing iPad, I’ve always found the stylus-equipped Microsoft Surface to be a useful complementary device to the iPad, and recent sales figures seem to back that up. If Apple is serious about embracing the enterprise market, a stylus-equipped iPad could be the way to go.
Source: USPTO
Via: Apple Insider
6 responses to “Smart iPad stylus could help Apple crack the enterprise world”
I thought Apple has already cracked the enterprise world, or hasn’t COM heard about that? #IBM #BYOD #DUH
Forget about a stylus, Apple. To get the iPad into more hands, in the business world, how about being able to wireless or wire a portable printer and being able to use a bluetooth mouse?
I use my iPad for business daily to process customer contracts, and a stylus, purely for signing documents, is an absolute necessity. I’ve found a decent tool for that using the Hand stylus, but I’d appreciate an apple made smarter stylus.
I never print anything, and have yet to need a mouse for any iPad work.
I’m an engineer that travels 80% of the time. If I could print from my iPad, I can leave behind my Dell laptop, all the time, while on the road. For using a mouse, it’s because I HATE fingerprints on the screen, that’s just me.
This is one area where Apple should really forget about what Steve Jobs said. A stylus is much better for many tasks than a finger! I’ve got both a SP3 and iPad Air 2, but the SP3 is my goto for work tasks due to the great inking experience, handwriting recognition and improved precision offered by Microsoft’s stylus.
“Did you know this is the first product Jony Ive ever designed for Apple?”
This is the first product that Jony Ive ever designed for Apple that you know of.