Future Apple devices could boast a smart projector accessory, according to a patent published today.
As one of 46 newly-published patents, the technology described would allow Apple to incorporate features such as a virtual projected keyboard into future iMacs.
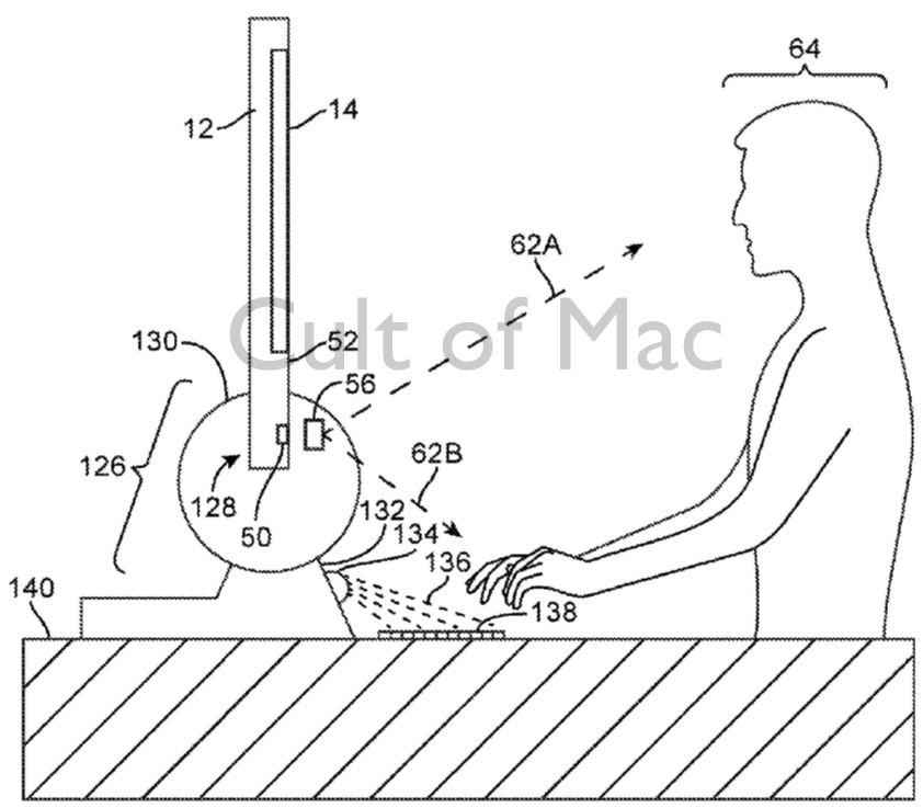
Just like the iPhone’s UI, this could make it possible for Apple to feature a slightly different keyboard for each application.
This isn’t the first time Apple has shown an interest in this kind of experimental tech. Earlier this year, the company published a patent that would let Mac users type onto what is essentially an iPad, with haptic technology then used to simulate the keys.
Check below for an illustration of what Apple’s next-gen iMac might look like.

Photo: Apple/USPTO
There are already existing projected keyboard accessories available for Apple devices from third-parties, although I have not personally had cause or the opportunity to use them. What makes Apple’s patent more exciting, however, is the wide range of hardware applications that it mentions in the patent — including a MacBook, iMac, iPad, iPhone, Apple Watch, display kiosk and… automobiles?
Of course, being a patent, there’s no guarantee any of of this will actually come to pass. Apple already redesigned its keyboard once in the past year, with the new MacBook’s Force Touch butterfly-mechanism keyboard. Who knows what the future will bring, though. Personally I just love the fact that Apple is investigating this stuff.
Apple’s “Camera accessory for angled camera viewing” patent names Nick Merz, Apple’s Senior Product Designer, as its inventor. Merz joined Apple in 1998, shortly after Jobs’ return to Apple, where he was responsible for product design of the G3 and G4 Powerbooks. After leaving the company in 2000, he returned in 2009, and has been in Cupertino ever since.
Source: USPTO
Via: Patently Apple
2 responses to “Future iMac could project its own virtual keyboard”
As cool as it sounds, I think Apple should spend R&D money on something else. I just don’t see this as a viable alternative that the masses are going to adopt quickly.
If they could virtually trigger a physical feeling in my finger so that it feels like i’m pressing a physical key down then i’m all for it but thats pretty unlikely.