Apple could introduce its own iOS-exclusive social network, according to a patent application published today.
Described broadly as “Lifestyle-Based Social Groups,” the application may be used to set up real-world childcare groups, lift-sharing, dining clubs etc., by automatically determining your interests and then pointing you toward similar people.

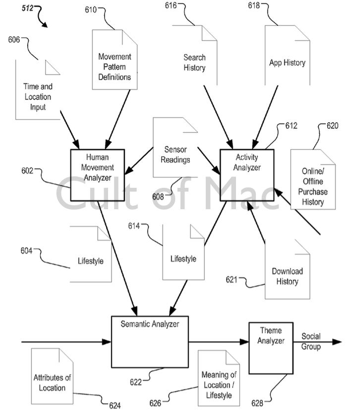
The patent describes how user interests could be harvested by analyzing information about daily routines. This might include movement patterns, user activity history in terms of downloads or app usage, or just the specific places you visit.
Using these datapoints, the service would then be able to predict user actions (such as the fact that you hit the gym every Tuesday after work, or that you enjoy bike trails on the weekend) and advise you about similarly interested people in the vicinity.

Where there are multiple users exhibiting the same patterns, Apple could even set up ad hoc social groups, which people would be able to join. Inside these groups, users could message each other to chat, meet up, or simply share useful information, such as traffic conditions or updates.
Of course, given Apple’s stance on privacy, all of this information would have to be transparent to the user, and could only be shared with their permission. However, given how smart our devices are (and how much smarter they will get thanks to sensor-filled devices such as the Apple Watch) this seems a great opportunity for Apple to draw more users into its ecosystem.
While ensuring you don’t hang out with pesky Android users, of course!
Source: USPTO
Via: Patently Apple
9 responses to “Face-Cook, Ive-Space, or Schi-tter? Apple patent hints at new social network”
Come on! Schi-tter? Instead of tweets, users flush?
I hate Apple, but I hate Fake Book more, oops I mean Facebook. Both have too much power in their kingdoms, it would be nice to see the two big dogs go at it…
Too much power in their kingdoms? Huh? What does that mean? Apple doesn’t have 80% to 90% market share of any market.
Microsoft still has their monopoly, Google still has theirs and Facebook has theirs. What’s funny is that Apple doesn’t have any monopoly.
Apple controls the biggest ecommerce portal in the world, the app store and iTunes. Its a closed system where they control access, price, format, and they censor. If they were a retail store the justice department would go after them for anti-trust violations. Just imagine Best Buy setting the price of every CD, Video Game and Book. That would last about a minute…
Are you daft? You think Walmart or Amazon don’t control these aspects of their store?
They do. But all companies have this power. Hell at least Apple is honest, and up front about it. In Googles case there the worst when it comes to there services (talk about Monopoly). Just look at what they did to Rap genius. And look at what Google is doing with YOUTUBE , and there music service.
They created a free ad supported service, but only until they have become more popular than every other service out there. And now they are planing to charge, and force YouTube creators to adhere to there new policies.
In fact the Justice department is, and has been breathing down Googles back for some time know.
The fear is that Google is making less money of its ads, and is now ready to monetize of its so called free ad supported services. And is starting to get real sneaky about it.
Almost. Biggest after Amazon and until recently Staples. Please show me a major retail store that does not control access, price, format and that doesn’t censor? Best Buy DOES set the price of every item it sells. I managed a department of a major retailer and had pricing authority in that department. You don’t know what you are talking about.
Have you been using pay~pal service ?in the event if you do you can add an additional 360 dollars /a week in your Pay_Pal account only working from your computer for 3 HOURS each day=>Read more here–>
one good thing about Apple’s potential social network is that like all other Apple services, it would be an inducement to purchase an iPhone rather than give free services, mine your data, track you across the internet and sell your data to innumerable companies which is what Facebook and Google+ do. if Apple does it, I hope they don’t implement a vain narcissist’s paradise i.e. Facebook and do it as per the description in this article…….connect you to similar people based on interest and geography. Facebook is one of the greatest evils on the internet fostering stalking, one upmanship, vanity, played a huge role in divorce statistics, decreased office productivity. Glad I NEVER made a FB account. I closely watch how Facebook plays havoc in other people’s lives.