Mobile menu toggle

Apple’s Smart Dock Patent Will Make Siri More Useful Around The House

By

smartdock

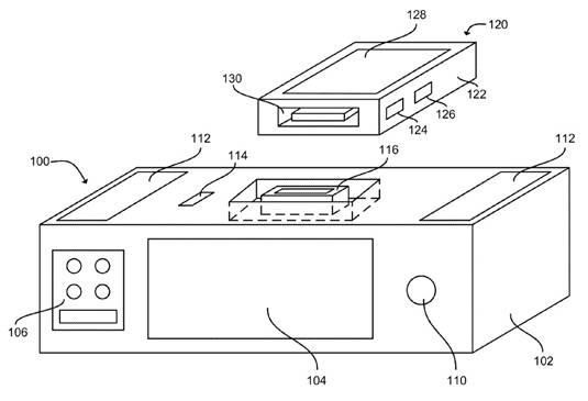
Apple has filed a patent for a “smart dock” which greatly extends the range and capabilities of Siri to give it a far bigger role in your home life.

Entitled “Smart Dock for Activating a Voice Recognition Mode of a Portable Electronic Device” the patent was filed in May last year, but only published now.

It describes a docking station not just for Apple devices but also for “any electronic device that can operate in a voice recognition mode.”

This is the part that makes the patent really interesting — and extensive — since the patent wording notes that:

“Such devices may include, for example, a laptop computer, a tablet device, a key fob, a car key, an access card, a multi-function device, a mobile phone, a portable gaming device, a portable multimedia player, a portable music player, a personal digital assistant (PDA), a household device, and/or any portable or non-portable electronic or electro-mechanical device and/or the like. For example, a portable electronic device can include an iPod, iPhone, iPad, MacBook, or iMac device available from Apple Inc. of Cupertino, Calif.”

To save the inconvenience of having to physically touch your iDevice, the smart dock will listen for commands at all times — and will be user programmable to recognize particular trigger words (think Google’s “OK, Glass”) to confirm that you are issuing an actual command.

It can even be fine-tuned to listen only for specific voices, so that it won’t be thrown into a tizzy by a conversation going on in another room, or the fact that you have the radio on in the background.

Source: US Patent Office

Via: The Register

Comments

Your email address will not be published. Required fields are marked *

  • Subscribe to the Newsletter

    Our daily roundup of Apple news, reviews and how-tos. Plus the best Apple tweets, fun polls and inspiring Steve Jobs bons mots. Our readers say: "Love what you do" -- Christi Cardenas. "Absolutely love the content!" -- Harshita Arora. "Genuinely one of the highlights of my inbox" -- Lee Barnett.