The rumored Apple Car may not be on the verge of rolling off the assembly line, but someday a version of it may have sunroof glass that you can darken or lighten with the touch of a button or with a Siri command.
That’s according to a patent the U.S. Patent and Trademark Office (USPTO) granted Apple this week for a sunroof with variable-opacity glass. That means a driver could adjust its transparency.
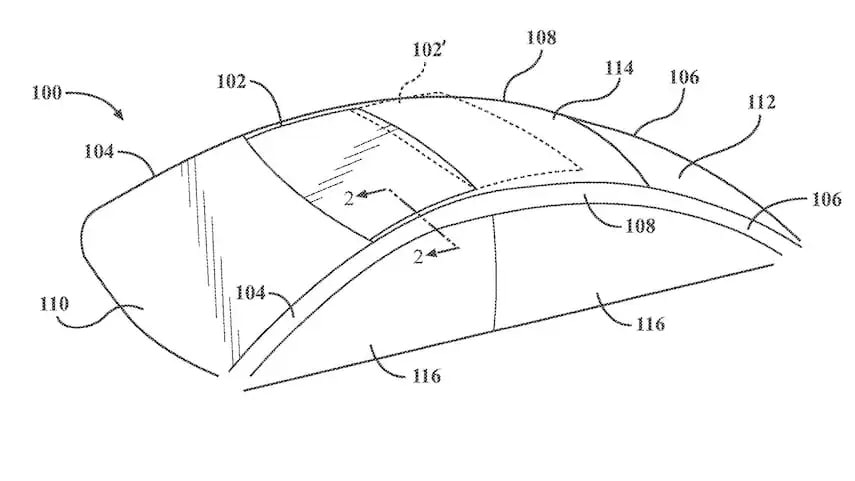
Apple Car sunroof: variable-opacity glass and side-window sync
According to the patent, the Apple-patented sunroof not only has adjustable, variable-opacity glass, but it also opens in sequence with side windows. Cars on the road today with similar technologies have a fixed sunroof.
Read part of the patent description below:
Another aspect of the disclosed embodiments is a vehicle that includes a window and a variable translucence area defined on the window. The variable translucence area is controllable to allow a desired degree of light admission through the window. A movable panel assembly is movable between a closed position and an open position.
That appears to mean Apple Car drivers will be able to choose whether they want to let sunlight into the car — without having to open the sunroof.
It won’t be the first of its kind, though it isn’t clear how similar to existing systems it is. Mercedes-Benz has a variable-opacity sunroof system it calls Magic Sky.
And it seems entirely possible a driver will make sunroof adjustments through CarPlay or through Siri.

Photo: USPTO
Sunlight blocked or not, it seems an Apple Car approaches
One notable thing about this new patent? It supports recent rumors about Apple working on a car.
Recently, reports have indicated Apple continues development and testing of a new self-driving vehicle system. And it has also discussed manufacturing plans with other companies.
But even if all of the above is true and continues apace, the launch of the Apple Car is probably 3 to 4 years off. Given all the recent losses to the Project Titan car development team, such a long timeline seems especially likely.