Mobile menu toggle

Could The Next iPad Be Made Of Carbon Fiber?

By

carbonfiber

The rationale behind Apple’s unibody aluminum housings isn’t just aesthetic appeal: it’s also sturdiness. Unibody aluminum adds a bit of heft to an ultra-thin Apple portable, but it makes that device also harder to break despite its thinness.

There’s always room for improvement though, and if a new patent published by the USPTO is anything to go by, future iPads might trade in their aluminum shell for ultra-strong carbon fiber.

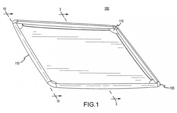
The new patent application is for “Reinforced Device Housing” and it describes an outer casing for an electronic device composed of “layered fiber-in-matrix type material,” .e. carbon fiber re-inforced polymer. As you can see from the illustration, they seem to use the back shell of the iPad as a patent illustration.

A carbon fiber iPad? Sounds plenty sexy to us.

Comments

Your email address will not be published. Required fields are marked *

  • Subscribe to the Newsletter

    Our daily roundup of Apple news, reviews and how-tos. Plus the best Apple tweets, fun polls and inspiring Steve Jobs bons mots. Our readers say: "Love what you do" -- Christi Cardenas. "Absolutely love the content!" -- Harshita Arora. "Genuinely one of the highlights of my inbox" -- Lee Barnett.