Dying to see what Apple’s idea of a car looks like? Here’s a bumper.
OK, so a patent, like the one for an extendable bumper awarded to Apple today, doesn’t exactly give us a detailed picture. But we at least see one more piece of evidence Apple remains a committed player in the future of cars – whether we drive them or not.
A car’s bumper may not be its sexiest feature but they are a critical line of defense in the event of collisions. True to Apple form, it believes it can improve on what already exists.
Apple Car bumper: a bumper like no other
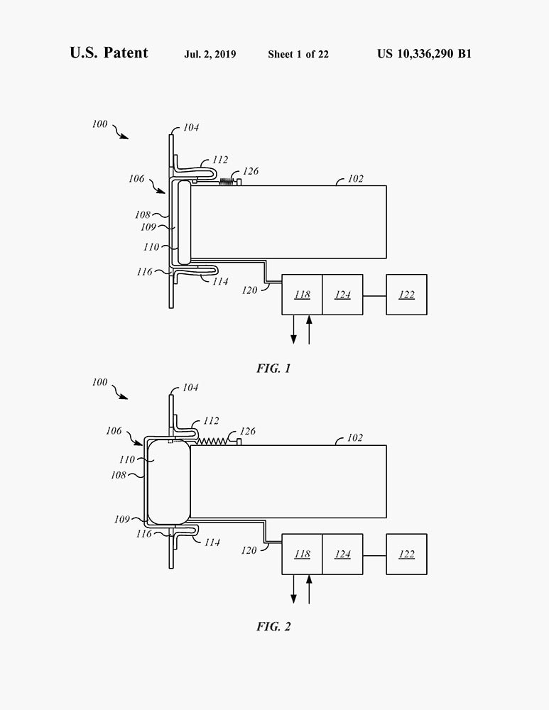
According to claims in its application filed in 2016 with the United States Patent and Trademark Office, Apple’s bumper would include an inflatable structure between the bumper cover and car body. It would also be able to retract to reduce the length of the car for parking.

Photo: Apple/USPTO
Apple says an extended bumper changes the initial point of collision.
“A vehicle includes a body portion, an opening defined by the body portion, and an extendable bumper that is positioned in the opening and is moveable with respect to the body portions between an extended position and a retracted position,” Apple wrote in its abstract. “The extendable bumper includes an inflatable structure that causes movement of the extendable bumper between the retracted position and the extended position in response to inflation and deflation of the inflatable structure.”
Apple’s Project Titan has been the source of fascination and constantly shifting rumors about what it will produce. We know Apple has a fleet of autonomous vehicles it is testing, routinely wins patents for interior sensors on everything from the console to seatbelts and even saw a former employee arrested by the FBI for downloading proprietary information to sell to a rival company in China.
It’s hard to know whether an Apple Car will ever see such a bumper. Many ideas never see a product launch and since it has been nearly three years since Apple applied for the extendable bumper patient, its car team could have come up with something even better.